系统原理
智慧水务系统,通过在各泵站、管道、水渠、污水处理厂安装传感器、控制器、数采仪、网关等,实现将生产运行数据实时传输到数据平台,数据平台通过对各类关键数据的实时监控和智能分析,并提供分类、分级预警,将统计分析情况和预警情况以报表、短信、微信、音频等形式展现、通知相关责任人,同时给予相应的处理结果辅助决策建议。
总体而言,智慧水务实现以更加精细和动态的方式管理水务运营系统的整个生产、管理和服务流程,使之更加数字化、智能化、规范化,从而达到“智慧”的状态;智慧水务是新一代信息技术变革的产物,是信息资源日益成为重要生产要素和信息化向更高阶段发展的表现,是经济社会发展的新引擎。
系统组成
系统特点
功能全面性:平台系统坚持实用性原则,以满足复杂多样的应用场景为目标,设计全面的功能模块。包含实时监测、水权管理、收费管理、统计分析、巡查管护、事件管理、一张图等。
安全性和可靠性:建立完善的系统运行安全体系,对大型的信息系统而言是一 项十分重要的工作任务。系统必须具备足够的安全权限,保证数据不被非法访问、窃取和破坏;同时要具备足够容错能力,以保证系统数据的逻辑准确性。
易操作和易维护性:智慧水务管理系统提供良好的用户界面,降低系统操作的复杂性。同时,系统应具备良好的可维护性,系统维护、数据维护、网络维护要做到既安全又便捷。
技术先进性:智慧水务系统建设是一项较大型的信息化建设工程,需要具有较高的 技术先进性,系统使用分布式架构,支持高并发连接,具有很好的可升级性。确保系统能适应后续业务数据处理量不断增加和变化的需求。
模块化及扩展性:随着现代技术的快速发展,用户需求也会不断增加,系统建设的规模将随之扩大。本方案在设计上充分考虑了这一点,采用模块化设计,模块间相互协作,又能独立运行,实现按需定制,灵活配置。
开放性:系统设计充分考虑跨部门、跨平台的信息联动与资源共享,预留其它系统(如智慧环保、智慧农业等)的数据接口,具有良好的信息交换、共享及升级能力,遵循统一与开放相结合的原则。
平台功能设计
用户管理
平台可定义机构名称和LOGO,用户登录系统,显示账号所属机构名称和LOGO。

系统管理
系统管理实现机构管理、配置管理、流程管理、菜单管理、日志管理等实现系统灵活的可配置性和扩展性。

设备管理
实现对监测点设备的机构所属、官网层级等属性的定义,其中设备编码为设备“身份证号”, 是终端设备注册平台必要匹配参数。
不同的设备类型不同的属性,实现对RTU和机井设备的区别管理。

实时监测
实时展现设备所采集瞬时流量、累积流量、机井用水量、水泵状态等信息,按机构分类浏览,主要属性按设备类型(RTU|机井)区分展现。

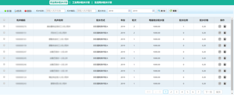
水权管理
实现根据机井分配水量,配水方式可为按实际灌溉面积、按额定灌溉面积或按人口,不同轮次可定义差异价格。

收费管理
实现预付费和预授权等方式的水费缴收,可按业务规则设置收费规则,如根据机井控制器对应的土地亩数和水价计算出收费金额,不同轮次不同价格。缴费方式可为现金、银行卡、支付宝、微信等。

-
白蚁可视化防治装置|TY502-P2白蚁可视化防治装置TY502-P2,深度融合AI智能识别与4G传输技术,将传统被动治理升级为“防+治结合”的智能化新范式,构建 "监测-预警-处置-评估 "的闭环防治体系 -
4G北斗三号遥测终端机TY511-B5全新升级版TY511-B5水利遥测终端机,支持北斗三号短报文+全网通4G双模通信,克服了偏远地区无公网信号、自然灾害中电力和通信基站破坏导致的通信中断等问题,兼容更好、信号更强,连接更 -
防水型遥测终端机 | TY501-B6TY501-B6防水型水利遥测终端机,IP68防护等级适用严苛室外环境,低功耗设计长待机适用,支持全网通4G无线网络,具备数据采集、无线远传、远程控制、告警等多功能。 -
5G多功能遥测终端机 | TY511-B3遥测终端RTU TY511-B3,全网通5G 4G、北斗通信,具备网口、模拟量输入、开关量、多路RS232和RS485接口,集数据采集、传输、控制功能于一体的工业级远程测控终端,支持国家水文 水资源规约 HJ212
-
水库洪水预报监测解决方案水库洪水预报监测系统,通过监测设备采集数据,使用4G 5G NB-I0T 北斗等传输到监测中心,监测中心结合历史洪水数据和气象、水文模型,生成洪水预报方案,预测洪水的峰值流量、到 -
智慧应急, 赋能堤坝决口险情的秒级响应项目背景 在我国多地,江河湖库水位因多种因素持续上升,对堤防安全构成了前所未有的挑战。除了持续的 -
科技防汛,智慧抗旱 | 打造水患旱灾解决方案“南方涝灾”解决方案,城市内涝、中小河流水文、水库水雨情、山洪灾害等,针对南方涝灾, 防洪抗汛系统可实现GPS定位、水位监测、雨量监测、视频监控、图片采集、险情广播、预 -
农村污水处理系统平台农村污水处理系统平台是基于物联网技术的系统平台,旨在实现农村污水处理的自动化、智能化管理。 农村污水处理站智慧监控系统建立污水处理监管系统、提升泵站远程管理系统、排 -
智慧用水监测系统平台智慧用水监测系统平台作为水务行业的重要组成部分,通过集成先进的物联网、大数据、云计算等技术,实现用水监测数据的统一采集、处理、存储及管理,为水务行业的可持续发

闽公网安备 35021102001331号